公司產品
Products新聞資訊
News- 電磁流量計流量點進行檢測...
- 渦街流量計參數設置
- 渦輪流量計原理分類
- 渦街流量計尺寸的檢定
- 渦輪流量計設計理念
- 電磁流量計安裝位置的選擇...
- 電磁流量計檢測原理
- 渦輪流量計參數單位
- 渦街流量計工作原理
- 電磁流量計松緊程度
聯系我們
Contact us聯系人:龐東萍 張慶生
電 話:022-23284808 23284479
022-23280164 27224317
022-23282022 23282481
傳 真:022-23258505
地 址:天津市河西區桃園村大街1號、4號
電 話:022-23284808 23284479
022-23280164 27224317
022-23282022 23282481
傳 真:022-23258505
地 址:天津市河西區桃園村大街1號、4號
信息詳情
玻璃轉子流量計典型產品
產品說明:

LZB系列玻璃轉子流量計
產品特點:
·國內統設通用性強、結構簡單、維修方便。
·分段計量、測量范圍靈活、可測微小流量。
·測體材質多樣、可測腐蝕性介質。
·DN10口徑以下帶調節閥,方便用戶。
技術參數:
公稱口徑:DN4~DN100
精度等級:±4%~±1.5%
測量錐管材質:硬質玻璃
浮子材質:不銹鋼、瑪瑙、氟包塑、316等
連接方式:軟管、法蘭、螺紋等
介質溫度:0~120℃
公稱壓力:0.4Mpa~0.9 Mpa
量程比:1:10、1:5
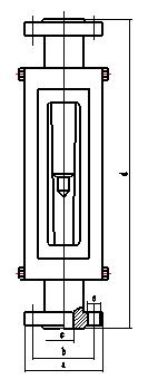
LZB15-100結構尺寸
|
型號
|
尺寸(mm)
|
||||
|
a
|
b
|
c
|
d
|
e
|
|
|
LZB-15
LZBF-15
|
φ95
|
φ65
|
φ15
|
470
|
4孔φ14
|
|
LZB-25
LZBF-25
|
φ115
|
φ85
|
φ25
|
470
|
4孔φ14
|
|
LZB-40
LZBF-40
|
φ145
|
φ110
|
φ40
|
570
|
4孔φ18
|
|
LZB-50
LZBF-50
|
φ160
|
φ125
|
φ50
|
570
|
4孔φ18
|
|
LZB-80
LZBF-80
|
φ185
|
φ150
|
φ80
|
660
|
4孔φ18
|
|
LZB-100
LZBF-100
|
φ205
|
φ170
|
φ100
|
660
|
4孔φ18
|
技術參數
|
產品型號
|
通徑
(mm)
|
測量范圍
|
精度
|
工作壓力
(Mpa)
|
使用溫度(℃)
|
普通浮子材料
|
防腐浮子材料
|
||
|
液體
|
氣體
|
普通
|
防腐
|
||||||
|
|
|
|
4
|
4
|
0-120
|
不
銹
鋼
|
不
銹
鋼
|
||
|
LZB(F)-4
|
Φ4
|
1-10(l/h)
1.6-16
2.5-25
|
0.016-0.16(m3/h)
0.025-0.25
0.04-0.4
|
≤1
|
|||||
|
LZB(F)-6
|
Φ6
|
2.5-25
4-40
6-60
|
0.04-0.4
0.06-0.6
0.1-1.0
|
2.5
|
2.5
|
||||
|
LZB(F)-10
|
Φ10
|
6-60
10-100
16-160
|
0.1-1.0
0.16-1.6
0.25-2.5
|
||||||
|
LZB(F)-15
|
Φ15
|
16-160
25-250
40-400
|
0.25-2.5
0.4-4.0
0.6-6.0
|
4
|
≤.0.6
|
聚
全
氟
乙
丙
稀
|
|||
|
LZB(F)-25
|
Φ25
|
40-400
60-600
100-1000
|
1.0- 10
1.6-16
2.5-25
|
1.5
|
2.5
|
||||
|
LZB(F)-40
|
Φ40
|
0.16-1.6(m3/h)
0.25-2.5
|
4-40
6-60
|
||||||
|
LZB(F)-50
|
Φ50
|
0.4-4
0.6-6
|
10-100
16-160
|
≤.0.4
|
|||||
|
LZB(F)-80
|
Φ80
|
1.0-10
1.6-16
|
50-250
80-400
|
||||||
|
LZB(F)-100
|
Φ100
|
5-25
8-40
|
120-600
200-1000
|
||||||
- 上一個:G、R、F系列玻璃轉子流量計
- 下一個:[玻璃轉子流量計系列]
新聞資訊
-
2019-05-06LZB系列玻璃轉子流量計
-
2019-05-06G、R、F系列玻璃轉子流量計
-
2019-05-06FA24系列玻璃轉子流量計
-
2019-05-06G、R、F系列玻璃轉子流量計
-
2012-02-16為了提高玻璃轉子流量計測量的準...
-
2011-12-30超聲波流量計傳感器裝在水流向下...
相關產品








